球速体育-专业赛事直播平台
行业动态
7X24小时服务热线:
0755-22671565
球速体育首页
关于球速体育
产品中心
球速体育特别推荐
交通标识牌
交通信号灯
路标路牌
新闻中心
球速动态
行业动态
客户案例
销售网络
在线留言
联系我们
您的位置:
主页
>
新闻中心
>
行业动态
球速动态
行业动态
02-11
2026
《中华人民共和国自然保护区条例》全文公布
国务院总理李强签署国务院令,公布修订后的《中华人民共和国自然保护区条例》,自2026年3月15日起施行。 (1994年10月9日中华人民共和国国务院令第1......
02-11
2026
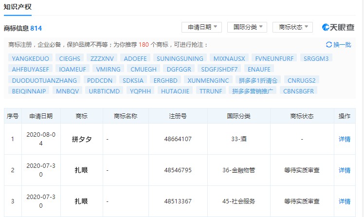
拼多多关联公司申请注册“拼夕夕”商标
8月17日消息,根据天眼查数据显示,拼多多关联公司上海寻梦信息技术有限公司近日申请注册“拼夕夕”商标,国际分类为“33-酒”,商标状态显示为“ 商标其他情形......
02-11
2026
资讯行业观察_服务器频道_天极网
银行网点留给公众的传统印象绝对少不了:排队时间长、业务手续繁、氛围冰冷严肃。不过,随着科技金融的发展,“人智+机智”相结合的“智慧银行”正在重塑银行网点在人......
02-11
2026
我国累计发布道路交通相关国标970项
选购汽车前,看看汽车上贴的能源消耗量标识;购买头盔时,了解一下是否符合强制性标准要求;驾车出行时,遵守道路上的标志标线……道路交通标准事关百姓出行和物流畅通......
02-11
2026
快狗打车
最近,一则“在广州打车被坑,2小时火速退款”的新闻在网络上疯传。 有乘客在白云机场打出租车,不仅被司机提前打表多收了钱,下车时对方还想额外要30%的服务费。......
上一页
34
35
36
37
38
39
40
41
42
43
44
45
46
47
48
49
50
51
52
下一页
在线客服
服务热线
服务热线
0755-22671565
微信咨询
返回顶部